中文版
ENGLISH
网站首页
企业概况
产品中心
厂荣厂貌
新闻中心
荣誉资质
企业业绩
留言反馈
人才招聘
联系方式
产品系列
振动电机(惯性振动器)
振动给料机
筛分机械
给料、输送系列
振动输送机
集团链接
当前位置:>>网站首页>>产品展示
产品展示
GZV系列微型电磁振动给料机
概 述
微型电磁振动给料机广泛应用于轻工、化工、粮食加工、商业等行业,用于粉状、颗粒状物料的给料、配料及定量自动包装等生产流程中,并可实现集中控制和自动控制,与其它形式给料机相比,具有体积小、重量轻、结构简单、耗电省、可无级调节给料量等特点。配用电磁振动给料机自动稳幅控制箱,可使其不受电源电压波动的影响,提高给料精度。
主要技术参数
型号
GZV1
GZV2
GZV3
GZV4
GZV5
生产能力(T/h)
0.1
0.5
1
2
4
双振幅(mm)
1.5
1.5
1.5
1.5
1.5
振动频率(r/min)
3000
3000
3000
3000
3000
供电电压(V)
220
220
220
220
220
有功功率(W)
5
8
20
25
30
重量(kg)
4
7
12
18
27
生产能力按物料容重1.6t/m
3
计算
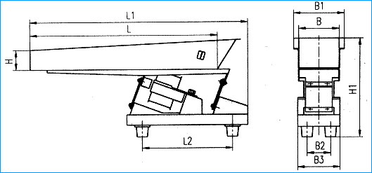
外形尺寸
型号
B
B1
B2
B3
L
L1
L2
H
H1
GZV1
40
60
50
80
200
273
92
20
155
GZV2
60
80
50
80
300
374
95
30
168
GZV3
80
110
60
100
400
480
224
40
222
GZV4
100
130
70
120
500
568
310
50
256
GZV5
120
150
70
120
550
630
310
60
295
上一个产品:
GZ系列电磁振动给料机
下一个产品:
DMA系列电磁振动给料机
地址:海安县海安镇江海西路168号 电话:0513-88812579 传真:0513-88814780
版权所有 海安县万力振动机械有限公司
苏ICP备15026872号
关闭
0513-88812579
工作日:9:00-18:00
周 六:9:00-18:00
海安万力
在线咨询
手机网站二维码,在手机上浏览万力振动网站!