
| 概 述 | |
| 振动式流化床干燥技术最早出现在日本、美国等国家,八十年代初,我国一些化工行业相继引进使用,因其强化了传热传质过程,通过振动使物料实现连续干燥,从而节约能源,克服了对流化床中被干燥物料会形成沟流和滞动区,温度大时易结块,以及由于是颗粒返混,颗粒停留时间分布范围大,颗粒含湿量不均等缺点。因而在物料干燥方面具备了更广泛的适应性和经济上的合理性。ZTG系列振动流化床干燥(冷却)机是我厂在吸收日本和美国样机基础厂,国产化的国内新一代振动干燥设备。近几年来,在我国许多行业,如轻工、食品、化工、制药、精制盐及非金属矿物等午到广泛的应用。 | |
| 主要技术参数 | |
| 工作振幅0-3.2mm; | |
| 主机噪声:当流化床的分布板,小于或等于2.7m2时,噪声不大于80dB,大于2.7m2时,噪声不大于85dB; | |
| 电机表面温升:当主机空运转4小时,不大于60℃; | |
| 干燥强度:当对粒度为1.6-3.5mm的石英砂,在规定条件下试验时,干燥强度不低于40kgH2O/hm2 | |
| 结构原理及特点 | |
| 原理:所谓振动流化床就是在普通流化床的基础上施加振动而成。振动流化床干燥机是由振动电机产生激振力使机器振动,被处理物料就是在给定方向的激振力的作用下跳跃前进,同时流化床底部输入的热风使物料处于流化状态,物料与热风充分接触,从而达到理想的干燥效果。 | |
| 结构:该机主要由以下几部分组成 | |
![]() |
1、加料口 |
| 2、上盖 | |
| 3、空气出口 | |
| 4、出料口 | |
| 5、底座 | |
| 6、振动电机 | |
| 7、空气入口 | |
| 8、减振弹 | |
| 9、振床 | |
| 特 点 |
| 1流态化均匀稳定,无死床和吹穿现象,可以获得均匀的干燥,冷却的制品。 |
| 2振动源为振动电机,运转平稳,维修方便,噪音低,设备寿命长。 |
| 3可调性好,料层厚度和物料在机内停留时间以及机器的振幅变更可以在设计范围内无级调节。 |
| 4适应面宽,对不同比重、粒度和形状、含水量、含水形式的物料均能适应。 |
| 5对物料表面损伤小,可用于易碎物料的干燥。 |
| 6作业环境清洁,可连续作业。 |
| 7加热方式为直接蒸气加热,热效率高,节能效果好,比一般装置节能30%-60%。 |
| 系列型谱及参数 |
| 型号 | 整机外形尺寸(mm) | 流化床尺寸(mm) | 整机功率(KW) | 整机重量(kg) |
| 3×30 | 3510×890×1830 | 2990×280×150 | 1.5 | 1250 |
| 3×45 | 5010×1120×1830 | 4500×280×150 | 1.5 | 1580 |
| 6×45 | 5010×1290×1940 | 4500×550×150 | 3 | 1970 |
| 6×60 | 6510×1290×1940 | 6000×550×150 | 3 | 2750 |
| 9×60 | 6510×1830×2110 | 6000×850×150 | 4.4 | 3540 |
| 9×75 | 8010×2100×2110 | 7500×850×150 | 7.4 | 4220 |
| 12×75 | 8010×2400×2570 | 7500×1150×150 | 7.4 | 5260 |
| 15×75 | 8010×2850×2450 | 7500×1450×150 | 7.4 | 6430 |
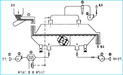
| ZTG系列振动流化床干燥机配套系统图 | |
![]() |
1、振动给料机 |
| 2、空气过滤器 | |
| 3、送风机 | |
| 4、加热器 | |
| 5、集尘器 | |
| 6、引风机 | |
| 7、送风机 | |
| 8、空气过滤器 | |
| 上一个产品:GD系列惯性振动给料斗 |
| 下一个产品:DK、DB型圆盘给料机 |